為方便游客的西藏阿里出行,提供阿里歷年的3月天氣預報數據供用戶參考,包括阿里3月份的最高氣溫,最低氣溫,白天和晚上溫度,天氣狀況,及3月整月的風力風向。
阿里3月天氣預報統計表:


阿里3月氣溫趨勢圖:

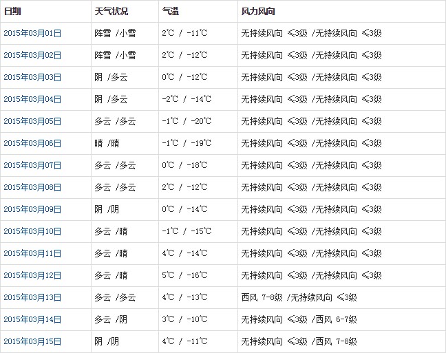
阿里3月氣溫及晴雨表統計:

以上是阿里3月份的天氣預報明細,含每日天氣溫度,3月當月氣溫趨勢圖,及3月氣溫和天氣統計表。>>相關閱讀:阿里天氣預報(未來3、7、15天)
多年行業服務經驗 、始終專注做好一件事
不用辛苦看攻略、做預訂、查簽證資料
不止機票+酒店,幫你搞定一切
為你私人定制一次難忘的旅行
經營許可證:L-XZ-100188 備案號:藏ICP備2023000629號-3
Copyright©2007-2025 西藏中旅國際旅行社 版權所有